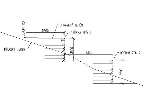
Řícmanice, opěrné zdi pro vyrovnání pozemku ve svahu

Při výstavbě rodinného domu na svažitém pozemku v obci Řícmanice byly v rámci terénních úprav vybudovány dvě terasy. Tyto terasy jsou podepírány opěrnými zdmi z vyztužené zeminy.

Cookies pomáhají Vám i nám

My, GEOMAT s.r.o., oceníme Váš souhlas s použitím souborů cookies. Tento web používá soubory cookies pro zajištění správného fungování, analýzu návštěvnosti a také k personalizaci obsahu a reklam. Kliknutím na tlačítko „Ano, v pořádku“ souhlasíte s uložením cookies do Vašeho prohlížeče, díky kterým využijete potenciál webu naplno. Podrobnosti najdete na stránce „Informace o cookies“.

Souhlas můžete odmítnout zde.